Potilaana '03 Road Glide 5 lovisella ja vuotaa ajossa ollessaan ensiövetoöljyä pihalle, sekä satunnaisesti myös hiukan vaihteistoöljyä.
Kaikki tiivisteet mukaanlukien 5- vaihteen stefa ja pääakselin iso stefa vaihdettu, eikä vaikutusta.
Nyt tiivisteiden vaihdon jäljiltä kastelee enää enskakopan sisäpuolen merkittävästi, eli kyseessä nyt todennäköisesti enskakopan stefa mikä päästää läpi.
Laakerit tuntui käsin pyörittämällä vielä fiksuilta. Alkaa pikkuhiljaa loppua itseltä keinot kesken, kun kuitenkin kohtuullisen yksinkertainen rakennelma kyseessä.
Jos kuitenkin vaikkapa ensiövedon tukilaakeri on vähänkin väljä niin onko mahdollista, että uudetkaan stefat ei sen takia pitäisi? Vai onko enää muuta vaihtoehtoa, kuin alkaa etsimään syytä vaihteiston puolelta tai vaihteiston puolen laakerista? Pääakselissa ei kuitenkaan klappia tunnu käsin kokeilemalla.
Big Twin ensiövedon öljyvuoto
Re: Big Twin ensiövedon öljyvuoto
Onhan se stefa varmasti nyt oikein päin, eli jousi öljytilaan päin? Muutamalla tiivistevalmistajalla juuri tuo on sen näköinen että menee helposti nurinpäin.
Re: Big Twin ensiövedon öljyvuoto
Vaihdelaatikon kannessa on huohotin, josta myös enskan paineet pääsee ulos.
Jos se on tukossa, taitaa ensimmäiseksi tukilaakerin stefa alkaa vuotamaan ja laatikon iso stefa tihkuu myös.

Jos se on tukossa, taitaa ensimmäiseksi tukilaakerin stefa alkaa vuotamaan ja laatikon iso stefa tihkuu myös.
moderattori
Romu rauhoittaa!
Romu rauhoittaa!
Re: Big Twin ensiövedon öljyvuoto
Stefan pitäisi olla kyllä oikein päin. Huohotinletkun käytin irti ja putsailin, mutta pitänee vielä varmistaa tuo nippakin, että pääsee hengittämään sieltä.
Enskan huohotus tapahtuu ilmeisesti kytkintikun reiän kautta?
Enskan huohotus tapahtuu ilmeisesti kytkintikun reiän kautta?
Re: Big Twin ensiövedon öljyvuoto
Ennen kun puhallat nippaan, avaa laatikon korkki.
Kyllä, enska huohottaa pääakselin läpi laatikkoon ja siitä nipan kautta ulkoilmaan
Kyllä, enska huohottaa pääakselin läpi laatikkoon ja siitä nipan kautta ulkoilmaan
moderattori
Romu rauhoittaa!
Romu rauhoittaa!
Re: Big Twin ensiövedon öljyvuoto
Mulla samaa vikaa. Vaihtanut jo kyllästymiseen asti enskakopan stefoja ja aina tihkuu.
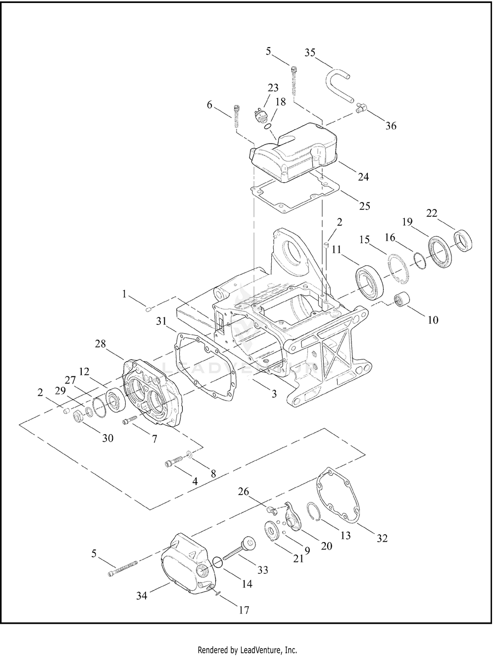
Mikä tuossa räjäytys kuvassa on se huohottimen numero?
Mulla on joku letku vaihdelootan kannesta vedetty.
Mikä tuossa räjäytys kuvassa on se huohottimen numero?
Mulla on joku letku vaihdelootan kannesta vedetty.
Re: Big Twin ensiövedon öljyvuoto
Tuota o-rengasta #16 on kahta kokoa ainakin EVO'n laatikossa. Minulla tiputteli vaikka oli uusi tiivistesarja laitettuna. Lopulta selvisi että se o-rengas tiivistesarjassa oli väärän kokoinen, oikean kokoinen tilalle niin loppui tiputtelu.
FXSTS 1991
FLHCS 2022
FLHCS 2022